安养养老旗下网站 - 找养老院上搜养老网

武汉这48家养老机构等级评定结果开始公示

  • 搜养老网
  • 2021/09/24
  • 极目新闻
  • 次浏览
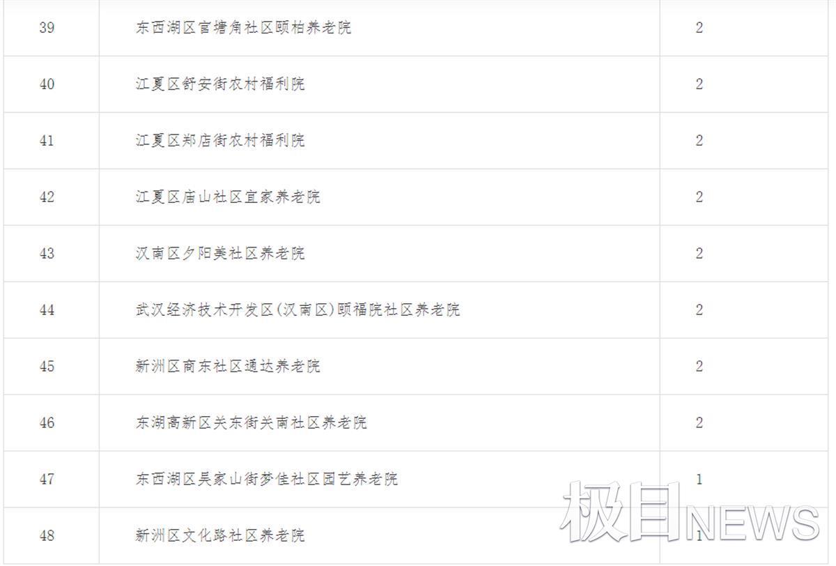
  9月22日,武汉市民政局在官网发布,武汉市2020年度养老机构等级评定结果公示。此次参与评级的养老机构主要为社区养老院,评定的等级为一级或二级。

  根据《养老机构等级划分与评定》(GB/T 37276-2018)、《市民政局关于印发2020年武汉市养老机构等级评定实施方案的通知》(武民办〔2020〕21号)要求,经过养老机构自愿申报、武汉市民政局资格审查、第三方评定机构实地综合评价、市养老机构等级评定委员会审核表决等程序,现将通过评定的48家养老机构予以公示。公示时间:2021年9月22日-28日,共7天。
  公示期间,武汉市养老机构等级评定委员会受理复核申请。(联系电话:027-85736077)。

  极目新闻记者查询《2020年武汉市养老机构等级评定实施方案》注意到,养老机构等级评定按照“标准量化、自愿申报、统一评定、公开透明、动态管理”原则,开展等级评定工作,养老机构评定等级从高到低依次为五级(★★★★★)、四级(★★★★)、三级(★★★)、二级(★★)、一级(★)。三级及以上等级评定工作由省民政厅组织实施;一至二级等级评定工作由武汉市民政局依据《养老机构等级划分与评定》和《湖北省养老机构等级评定管理办法(试行)》组织实施。

  据悉,养老机构评定等级实行动态管理。养老机构评定等级有效期为3年。前一次等级评定满两年后,可以申请升级评定;评定等级有效期满前3个月,可以申请重新评定。未申请评定或评定未通过的,原评定等级自动失效。等级评定结果作为养老机构信用评价、服务收费价格、评优评先的重要依据,并将建立与运营补贴相挂钩的激励机制。

版权声明:本文的版权归原作者所有,不代表幸福老年养老网观点和立场。
本站仅提供信息存储空间服务,不拥有所有权,不承担相关法律责任。如发现本站有涉嫌抄袭侵权/违法违规的内容,请发送邮件至 shayyl@qq.com 举报,一经查实,本站将立刻删除。

相关推荐

浦东首家“东西南北中”养老机构昨日开业

作为浦东首家运营的“东西南北中”养老机构,昨天下午,浦东新区举办临港养护院正式开业。

养老机构医养照护全覆盖,枣庄峄城晒出民生保障成绩单

 10月13日下午,枣庄市峄城区政府新闻办举行“满意峄城”创建主题系列新闻发布会之社会

北京印发养老机构和社区养老服务驿站“评星”管理办法

近日,北京市养老机构和社区养老服务驿站服务质量星级评定管理办法发布。根据管理办法,养

对养老机构疫情下运营管理的几点思考

今年以来,全国疫情持续多点散发、多点频发,一些城市更是经历了或正在经历全城“静态管理

山东破解养老机构“用工难”:中职以上毕业生入职养老服

山东是老年人口大省,老年人对养老服务的需求十分迫切。党的十八大以来,我省在养老服务政

山东养老机构数量达2486家,护理型床位占60%

 10月12日上午,山东省委宣传部举办“山东这十年”系列主题新闻发布会第十一场,邀请省民